
正规股票配资官网查询
「IPO全观察」栏目聚焦首次公开募股公司,报道企业家创业经历与成功故事,剖析公司商业模式和经营业绩,并揭秘VC、CVC等各方资本力量对公司的投资加持。
作者丨流光
编辑丨关雎
头图丨豆包
近日,清陶(昆山)能源发展集团股份有限公司(下称“清陶能源”)向港交所主板递交上市申请。如果上市成功,它将成为港股固态电池第一股。
清陶能源的核心业务是固液混合电池与全固态锂电池的研发、生产和销售。实现量产的产品是固液混合电池,包括动力电池、储能电池、固态电解质材料及锂电自动化装备,客户以汽车制造商和储能系统集成商为主。
另外,公司的全固态电池在2025年开始中试,搭载其全固态电池的样车已于2026年3月下线。
截至2026年4月,公司的电池已经搭载于智己、名爵、福田等品牌超过30款车型,累计交付超过1.68万套。在储能领域,它是内蒙古乌海800MWh储能电站的独家电池供应商,该电站是目前全球最大的固液混合电池储能站。
根据弗若斯特沙利文数据,2025年清陶能源在全球固液混合及全固态电池市场中占据33.6%的份额,在中国市场达44.8%,均排名第一。2025年公司营收9.43亿元,同比增长超过一倍。
清陶能源的核心团队主要来自清华大学材料学院。四位创始人冯玉川、李峥、南策文、杨帆目前分别持股10.64%、10.32%、6.45%、4.84%,其中杨帆是冯玉川的妻子。上市前,四人签署一致行动协议,合计控制公司约37%的投票权。
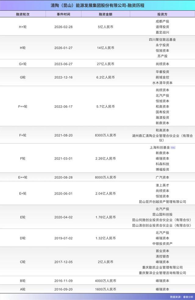
过去近10年,清陶能源完成了11轮融资,IPO前估值达279亿元,是江苏昆山历史上第一家独角兽企业。主要投资方包括峰瑞资本、上汽集团、北汽集团、广汽集团、清控银杏、上海科创基金、昆山国创等。
其中,峰瑞资本是最早进入的VC,从A轮开始持续投资,目前是清陶能源最大的外部股东,持股15.09%。上汽集团是第二大股东,合计持股约14.24%。北汽集团、广汽资本分别持股4.05%、1.28%。

清华师徒一起创业
清陶能源的核心技术来自清华大学材料学院南策文院士团队。南策文是中国科学院院士,功能陶瓷领域的顶尖学者。
他1962年出生于湖北浠水农村,15岁考入华东化工学院(现华东理工大学),先后获得学士、硕士学位。之后他被分配到武汉工业大学(现武汉理工大学)教书,三年后被破格提拔为副教授。1998年受邀参加清华大学的“百人计划”,次年被聘为教授。2002年成为国家“973”计划功能陶瓷项目的首席科学家。
2003年,19岁的冯玉川考入清华大学材料科学与工程系,本硕连读,导师正是南策文,同门师兄弟还包括李峥、何泓材等人。读研期间,冯玉川所在的课题组与国内电池企业比克合作开发新型锂电池材料。他后来回忆,这段经历让他意识到锂电池行业的巨大潜力。

清陶能源创始人、执行董事、董事会主席冯玉川 图源:清陶能源
2010年,冯玉川获得清华大学硕士学位,2013年进入北汽新能源工作。之后,他又在2024年获得清华大学先进制造博士学位。
李峥比冯玉川小一岁,2003年考入清华,2012年获博士学位,2014年博士后出站,在清华待了11年。
2014年,冯玉川拉上李峥,决定将导师团队的固态电解质研究成果产业化。这一年,他们联合南策文、杨帆在江苏淮安盱眙成立了江苏清陶。团队没有直接造电池,而是先从液态锂电池的陶瓷隔膜产品入手,通过这类产品实现自我造血,再逐步搭建固态电池的技术体系。
2015年,昆山市政府在清华大学举办招商活动,昆山的营商环境和政策支持吸引了冯玉川团队。2016年6月,团队在昆山开发区正式成立清陶能源,开始全面推进固态锂电池的研发与商业化。南策文担任首席科学家,不参与日常管理,但为技术方向把关。
何泓材后来也加入团队。他比冯玉川和李峥年长几岁,读书时还是他们的带班辅导员。加入清陶能源前,何泓材在中国电子科技大学当了12年教授。2016年他辞去教职加入公司,目前担任清陶能源副总经理兼研究院院长。
目前,冯玉川担任执行董事、董事会主席,李峥担任执行董事兼总经理,杨帆担任非执行董事。

十年估值上涨158倍
固态电池是相对液态锂电池而言的。现在市面上主流的新能源汽车、手机、笔记本、无人机等用的几乎都是液态锂电池——正负极材料之间填充有机电解液,中间还有一层隔膜。清陶能源早期做的就是这类产品。
固态电池则不同,它用固态电解质替代电解液和隔膜,具备更高能量密度和安全性,也可柔性化,几乎覆盖所有需要储能的领域。但缺点是离子电导率低、固-固界面阻抗大、工艺复杂、成本高。清陶能源刚成立的那个时期,固态电池基本停留在实验室阶段。
在关键的固态电解质路线上,当时业内有三条主流路线:聚合物、硫化物、氧化物。行业普遍看好丰田、三星SDI等日韩企业主攻的硫化物路线,认为氧化物路线导电性差、难以突破。

清陶能源选择的是氧化物+聚合物的复合路线。这是一条相对冷门的选择,既要解决氧化物的界面问题,又要解决聚合物的电导率问题,两条技术难题叠加,产业化难度可想而知。
也正因此,清陶能源早期融资并不顺利。2016年A、B两轮融资中,仅有峰瑞资本一家机构,公司估值也仅在数千万元规模。峰瑞资本创始合伙人李丰坦言,项目早期不被看好,当时很难想到它能成为一家估值数百亿的公司。
2017年C轮,峰瑞资本继续跟投,重庆聚泽、重庆动凯、清控银杏、上海首业君京等机构开始进入。
2019年,北汽产投领投D轮、E轮。作为冯玉川的老东家,北汽成为首个入局的整车厂,也为清陶能源打开了车规级验证通道。后来,北汽研究总院院长助理袁文静进入清陶能源担任非执行董事。
紧接着,上汽、广汽相继在E+、E++轮投资。至此,清陶能源集齐了北汽、上汽、广汽三家车企的投资。
2021年F轮,上海科创基金领投、新鼎资本等跟投,清陶能源估值首次站上百亿元。此后又完成F+、F++轮,和高资本、新鼎资本、恒旭资本以及北汽、上汽等机构继续加码。
2022年12月,G轮融资6.2亿元,华睿投资、鹃城金控、苏州清山智远参与投资。
2023年,上汽以27亿元独家投资G+轮,创下当时国内固态电池赛道最大单笔融资纪录。之后,上汽投资部总经理沈浩明进入清陶能源担任非执行董事。
2023年底,清陶能源与上汽旗下华域汽车成立合资公司“清陶动力科技”。双方约定,未来三年上汽采购10万套电池产品,清陶能源承诺优先供应不低于50%的产能。合作很快落地到量产车型。2024年4月,清陶能源“光年”固液混合电池搭载于上汽智己L6量产交付,电池容量133kWh,CLTC(中国官方续航测试标准)续航超1000公里,支持10分钟补能400公里。2025年9月,全球首批量产交付的固液混合电池车型上汽MG4正式上市,同样搭载清陶能源电池。
到2026年递表前,公司完成H、H+轮融资,合计募资19亿元,投后估值达279亿元。每股成本从A轮的0.3元涨至47.5元,10年间上涨约158倍。


出货量全球第一
清陶能源的业务围绕固液混合电池展开,形成动力电池、储能电池和自动化装备三大板块,其中电池产品贡献了超过95%的收入。
动力电池已经进入多家车企供应链,产品搭载于智己L6、MG4、福田祥菱、上汽跃进等30余款车型。值得一提的是,清陶能源采取“深度绑定车企”的策略:从整车开发早期即介入,与主机厂共同确定技术方案并参与整车级测试。这种模式一旦进入定点,替换难度较高,但也意味着更长的开发周期和更高的前期投入。
2025年,清陶能源动力电池平均售价从0.60元/Wh(Watt-hour,瓦时)降至0.31元/Wh,主要因开始向头部车企大规模供货并按市场价格交付,导致动力电池毛利率为-111.6%。但从另一角度看,大规模交付意味着产品已通过车规级验证,进入放量阶段。
相比之下,储能业务则成为收入支柱。据招股书,清陶能源是全球最早把固态电池规模化用于储能的企业。它是内蒙古乌海800MWh固液混合储能电站项目的唯一供应商,其储能电池循环寿命最高可达8000次,覆盖电网侧、工商业及数据中心等应用场景。2025年储能业务贡献收入占比达62.8%,毛损率已从2023年的108.5%收窄至6.0%,接近盈亏平衡。
同时,公司还保留自动化装备业务,涵盖涂布、转印及热压设备等,既用于自有产线,也对外销售,毛利率稳定在20%左右,是少数实现稳定盈利的板块。

图源:招股书
除动力和储能外,清陶能源还为AI终端、机器人、低空飞行器等早期高增长赛道储备产品。这些场景要求电池更轻、能量密度更高、安全可靠性更严,定价与利润率明显更高。据悉,公司已与多家创新公司合作,但该业务收入贡献仍处早期验证阶段。
产能方面,截至2025年底,清陶能源在国内拥有五大电池生产基地,总年产能6.8GWh,分布于江苏昆山、江西宜春、四川成都和浙江台州,同时在淮安、乌海布局材料基地,在惠州布局装备制造。并且产能利用率已从2024年的低位回升至2025年的53%,公司正从验证阶段走向规模化生产。
海外市场成为公司接下来的重点。2026年3月,上汽在法兰克福宣布MG4 Urban将成为欧洲首款搭载清陶能源固液混合电池的量产车型,预计2026年下半年上市。
在储能领域,清陶能源正通过与TÜV莱茵合作推进认证,计划优先进入欧洲、东南亚及澳洲市场,以电芯和模组为核心产品,由当地合作伙伴完成系统集成与本地化认证。
整体来看,公司的商业化路径已初步打通,但问题依然明显。2025年,前五大客户合计贡献了7.06亿元收入,占总营收的74.9%,客户集中度相当高。其中北汽、上汽分别是第二、第四大客户,二者分别贡献了公司总营收的17.5%和5.8%。

清陶能源各年度五大客户详情 图源:招股书
此外,由于产能利用率不足和高研发投入,清陶能源仍处于亏损状态,过去三年累计亏损超过31亿元。

图源:招股书

风口已至,竞争加剧
根据弗若斯特沙利文数据,全球固液混合及全固态电池的出货量从2022年的0.4GWh增至2025年的6.0GWh,渗透率从0.1%提升到0.3%。预计到2030年将达745.2GWh,复合年增长率151.2%,渗透率提升至12.3%。
目前市场竞争格局相对集中。2025年清陶能源以33.6%的全球份额排名第一,卫蓝新能源、宁德时代、赣锋锂业、太蓝新能源紧随其后,前五名合计份额不足70%,行业尚未定型。

从技术演进方向看,行业呈现“半固态先行、全固态接力”的局面。半固态电池作为过渡方案,预计有5-7年的商业化窗口期,而全固态电池有望在2030年前后迎来产业化拐点。中国科学院院士欧阳明高曾表示,在此之前不宜过于乐观。不过,不少企业仍将量产时间表设定在2027年前后。
行业面临的挑战依旧明显:技术路线尚未统一,固-固界面接触、循环寿命、一致性等工程问题仍待突破。同时,全固态电池的材料成本仍是传统液态电池的3-5倍,离大规模商业化还有相当距离。
对于清陶能源来说,它用氧化物复合路线率先实现量产上车,在时间上抢占了先机。代价是能量密度和离子电导率的上限不如硫化物,未来向全固态跨越时可能需要切换技术路线。
接下来几年正规股票配资官网查询,随着宁德时代、比亚迪、丰田等巨头的全固态产品陆续落地,竞争格局将发生剧烈变化。
东方优配提示:文章来自网络,不代表本站观点。